
На рис. 16.1 показаны конструкции водогрейных котлов типа ПТВМ-ЗОМ (КВ-ГМ-30-150) с П-образной компоновкой поверхностей нагрева, положительно зарекомендовавший себя при эксплуатации. Расчетная тепловая мощность котла около 35 МВт. Топка котла экранирована трубами 60x3 мм и оборудована шестью газомазутными горелками. Конвективная поверхность расположена в опускной шахте с экранированными стенками.

Циркуляционная схема конструкции водогрейных котлов ПТВМ-ЗОМ показана на рис. 16.2. Вход воды осуществляется во фронтовой экран топочной камеры, а выход- из бокового экрана топки. Температура воды на входе в котел 70, на выходе - 150 °С. При работе котла на газе расход воды составляет около 500, а при работе на мазуте - 435 т/ч. При этом тепловая мощность котла соответственно составляет 46,4 и 40,7 МВт, температура уходящих газов-188 и 250 °С, а расчетный КПД котла - 92,2 и 89,5%. Обмуровка котла выполнена облегченной, с креплением к трубам.
В последнее время выпуск водогрейных котлов осуществляется на основе унифицированных серий по Г- и П-образной схеме. Серия унифицированных водогрейных котлов для работы на газе, жидком и твердом топливах разработана ЦКТИ совместно с Дорогобужским и Барнаульским котельными заводами.

На рис. 16.3 показаны конструкции водогрейных котлов типа KB-ГМ (котел водогрейный, газомазутный). Такие котельные установки выпускают тепловой мощностью 4,65; 7,56; 11,63; 23,3 и 35 МВт. Имея единый профиль (по схеме Г) и одинаковые ширину и высоту, они различаются глубинами топочной камеры и конвективной шахты. Сжигание топлива осуществляется с помощью одной газомазутной ротационной горелки необходимой тепловой мощности с автономным вентилятором. Для очистки от загрязнений наружных поверхностей труб конвективной шахты (при работе на мазуте) применяют дробеочистную установку.
Газомазутные котлы на 58,2 и 116,3 МВт имеют П-образную компоновку и соответственно две и три газомазутные горелки с ротационными форсунками. Показанные на рис.16.3 конструкции водогрейных котлов КВ-ГМ-20-150 (тепловой мощностью 23,3 МВт, подогрев воды до 150°С) имеет топочную камеру, полностью экранированную трубами 60x3 мм с шагом 64 мм. Промежуточным задним экраном, состоящим из двух рядов труб, топка разделена на камеру горения и камеру дожигания. Конвективные поверхности нагрева котла расположены в вертикальном газоходе с полностью экранированными стенами. Передняя и задняя стены выполнены из труб 60x3 мм с шагом 64 мм, боковые стены - из вертикальных труб 83x3,5 мм с шагом 128 мм. Конвективные поверхности набираются из L'-образных ширм из труб 28X3 мм. Расход воды, подогреваемой от 70 до 150 °С, составляет 247 т/ч. При работе на газе расчетный КПД котла 89,8 %.
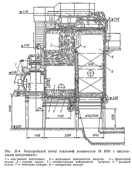
Значительная интенсификация работы водогрейных котлов с уменьшением расхода металла на их изготовление и сокращением габаритов достигается при применении циклонных предтопков для сжигания газа и мазута. На рис. 16.4 показан малогабаритный водогрейный котел тепловой мощностью 58 МВт с тремя циклонными предтопками. Диаметр и длина циклонной камеры £>д=Тц=1250 мм. Основное количество холодного воздуха поступает в камеру со скоростью 40-50 м/с через тангенциально расположенные сопла. Для подачи остального воздуха (до 30 % общего количества) в центральной части днища камеры установлена улитка.

При работе на газе он подводится через отверстия со скоростью до 150 м/с по всей ширине воздушного сопла. При работе на жидком топливе механические или паромеханические форсунки устанавливают в воздушных соплах перпендикулярно потоку воздуха. Это улучшает распиливание мазута и расширяет диапазон регулирования производительности форсунок, которые в этом случае обеспечивают удовлетворительное распиливание мазута даже при давлении около 0,2 МПа. Внутренние стенки циклонной камеры открыты (не футерованы). Стенки циклона охлаждаются сетевой водой. При циклонном сжигании мазута в камере поддерживают малый коэффициент расхода воздуха (около 1,05), что резко уменьшает загрязнение и коррозию конвективных поверхностей нагрева водогрейного котла. При сжигании мазута в предтопке плотность тепловыделения на сечение циклона составляет qF=17,54-18 5 МВт/м2 при химической неполноте сгорания не более 1-1,5 %. Имеются также циклонные камеры с большим диаметром, обеспечивающие эффективное сжигание мазута. Для работы на твердом топливе применяют котлы типов KB-ТС (котел водогрейный, твердое топливо, слоевое сжигание), КВ-ТСВ (слоевое сжигание, с воздухоподогревателем) и КВ-ТК (твердое топливо, камерное сжигание). Водогрейные котлы КВ-ГМ, KB-ТС изготовляют из одинаковых элементов (топочные экраны - из труб 60X3 мм с шагом 64 мм, конвективные пакеты - из труб 28x3 мм и др.).

Водогрейные котлы со слоевым сжиганием твердого топлива выпускают тепловой мощностью от 4,65 до 58,2 МВт. Котлы снабжают цепными решетками обратного хода с пневмомеханическими забрасывателями. На рис. 16.5 показан водогрейный котел КВ-ТС-10-150В с цепной решеткой ТЧЗМ и воздушным подогревателем. Тепловая мощность установки при работе на каменном угле 11,63 МВт. Расход воды через котел 123,5 т/ч. Гидравлическое сопротивление котла до 0,25 МПа. Расчетное давление воды на выходе из котла 2,5 МПа. Температура горячего воздуха 210 °С. Расчетный КПД котла при работе на каменном угле 80,9 %. Циркуляционная схема котла КВ-ТС-10-150 показана на рис. 16.6.

Конструкции водогрейных котлов с сжиганием твердого топлива в камерных топках разработаны на тепловую мощность 58,2 и 116,3 МВт. На рис. 16.7 показаны конструкции водогрейных котлов КВ-ТК- 50-150 для камерного сжигания твердого топлива с размолом его в молотковых мельницах. Котел прямоточный, выполнен по П-образной схеме. Шесть турбулентных горелок расположены встречно на боковых стенах топки. Топка выполнена с твердым шлакоудалением. Стены топки и поворотной камеры газоплотные, из труб 60x4 мм с шагом 80 мм. В конвективной шахте имеются два пакета из труб 28x3 мм. За конвективными пакетами расположен трехходовой воздухоподогреватель из труб 40X1,5 мм. Воздух подогревается до 350 °С. Температура уходящих газов около 220 °С. Предусмотрена дробеочистка конвективных поверхностей. Расчетный КПД котла 88 %.
