Топки циклонного типа подразделяются на вертикальные и горизонтальные. Топки циклонного типа делятся на вертикальные и создаются наилучшие газодинамические условия для снижения механического недожога топлива и улавливания частиц золы. Однако циклонные устройства вертикального типа требуют более равномерного фракционного состава сжигаемого топлива. Они более громоздки и трудно вписываются в габарит котельных установок.
Горизонтальные топки циклонного типа менее требовательны к фракционному составу сжигаемого топлива. Недостатком их считается более высокое гидравлическое сопротивление. В настоящее время более приемлемыми для разработки и внедрения являются горизонтальные циклонные топочные устройства. Принципиальная схема циклонного сжигания древесно-шлифовальной пыли и опилок показана на рис. 16.

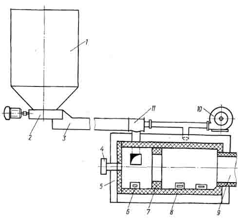
Рис. 16. Принципиальная схема циклонного сжигания древесной пыли совместно с газом и мазутом.
1 - бункер; 2 - питатель; 3 - транспортер; 4 - газомазутная горелка; 5 - внешний корпус топки циклонного типа; 6 - воздушное сопло; 7 - кольцевой пережим; 8 - внутренний футерованный корпус; 9 - выходной футерованный патрубок; 10 - воздушный вентилятор; 11 - эжектор-смеситель
Древесная пыль и опилки подаются пневмо- транспортером или системой транспортеров в бункер 1, снабженный рыхлителем для устранения зависания хранимого в нем материала. Из бункера питателем 2 пыль и опилки выгружаются на транспортер 3, который доставляет их в эжектор-смеситель 11. Здесь они подхватываются воздухом, подаваемым вентилятором 10, и направляются по касательному патрубку в камеру топки циклонного типа. Топка циклонного типа состоит из внешнего металлического корпуса 5, внутри которого смонтирован футерованный корпус 8, снабженный кольцевым пережимом 7 и выходным патрубком 9.
Воздух для сжигания пыли и опилок подается вентилятором 10 в зазор между наружным и внутренним футерованными кожухами топки. Он охлаждает внутренний футерованный корпус топки и затем проходит в установленные тангенциально внутренней поверхности циклонной камеры воздушные сопла 6, обеспечивая интенсивное вращательное движение газов внутри топки. Кольцевой пережим 7 служит для обеспечения дожига крупных частиц на начальном участке топочной камеры.
С торцевой стороны топочной камеры устанавливается газомазутная горелка 4, которая служит для разогрева топки при ее розжиге. Нагрев футеровки при операции розжига топки должен продолжаться до тех пор, пока температура ее не достигнет 800 - 900 °С. Только после такого разогрева топочной камеры следует начать подачу в топку пылевоздушной смеси.
Весьма важным элементом в топке циклонного типа следует считать обмуровку камеры, которая работает в весьма тяжелых высокотемпературных условиях. Имеющийся опыт работы подобных устройств показывает, что применяемый обмуровочный материал в кратчайшее время выходит из строя, вызывая длительные остановки котлоагрегата.